High-voltage power supplies (HVPSs) are required in multiple configurations and capabilities. The dimensions, type of enclosure, weight, input and outputs, thermal and electromagnetic interference (EMI) shielding, cooling method, connectors, etc., can vary with each application.
While some manufacturers offer standard products that can be sold off-the-shelf, HVPS applications most often mandate customization. Depending on the specifications, regulatory requirements, development schedule of the OEM, suitability of an existing platform, customer changes, and other factors, the process can take as long as a year to complete. A “designed from scratch” HVPS takes even longer.
Custom high-performance, high-reliability power supplies are designed to meet the unique requirements of a particular customer and application. Products often provide power levels to 100 kW, with output voltages that range from 300 V to 750 kV. This article discusses some of the design and performance parameters that must be accommodated in engineering to design and produce an HVPS.
Engineering Considerations
HVPSs belong to a diverse family of devices that provide electrical power to electronic circuitry. Types include AC to DC power supplies, DC to DC converters, and controlled current power supplies. Virtually all new HVPSs are designed using switch mode technology, in order to achieve high performance while keeping the size small and costs low. The list of switch mode topologies is long, and each has performance advantages in certain areas or applications. It should also be noted that, in many cases, the HVPS needs to provide several outputs.
Variations also exist in terms of how the power supply is packaged, with bare circuit boards, modules, open frames, enclosed frames, and rack mounts being typical variations.
Large HVPS systems may be housed in cabinets. Figure 1 depicts various modular HVPS supplies and two larger rack-mounted units. The choice of insulation system in an HVPS is usually driven by the output voltage and output power as well as the packaging. Typical insulation systems are based on air, dielectric oil, epoxy, room-temperature-vulcanization (RTV) silicone rubber, and sulfur hexafluoride (SF6). The method of cooling is a factor as well with the choices often coming down to air, water, or oil, depending on the platform design, the amount of heat to be dissipated, the output voltage, and installation infrastructure considerations.
Figure 2a shows an RTV silicone rubber filled housing, which encases an Excelitas medical x-ray power supply, and Figure 2b is an oil-filled housing containing an Excelitas HV supply. Then, there are the particular features required by the application, such as power factor correction, number and adjustability of outputs, and the user interface or control. Typical controls include local front panel (analog or digital), electrical interface including analog, and digital signals, as well as computer interfaces including USB, Ethernet, RS-232, and GPIB.
For low and medium voltage requirements, an off-the-shelf power supply can sometimes meet the needs of the application. On the other hand, highvoltage power requirements almost always call for a unique solution, primarily because an existing power supply can seldom be found to satisfy the particular combination of specifications governing performance, packaging, cooling, and physical dimensions. Safety and risk reduction concerns also play a role. For example, designed-in protection from load arcing, EMI effects, and drops in input line voltage ensure equipment integrity, while design measures, such as interlock circuitry, low storage of energy due to high-frequency operation, and control circuit regulation of the output, are intended to protect personnel, as well as the equipment.
The definition of high voltage varies depending on the context. Safety agencies reviewing electronic circuits generally define greater than 48 V as high voltage while the National Electric Code (NEC) specifies greater than 600 V. Sometimes an arbitrary level such as greater than or equal to 1 kV may be considered high voltage. For the purposes of this article, high-voltage products range from 300 V to 750 kV.
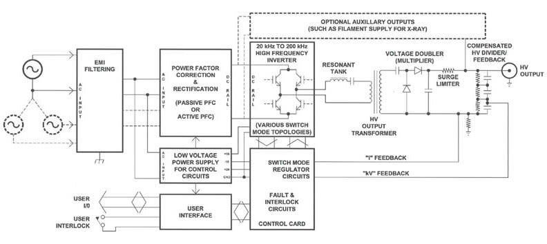
Despite the dissimilarities in design and performance, HVPSs are generically configured as shown in Figure 3, consisting of an EMI filter, power factor correction (PFC) circuitry, rectifier, inverter, high-voltage transformer, multiplier/rectifier-filter, high-voltage divider, and feedback control system. How these components are configured in the circuitry depends on the type of HVPS and the topology approach taken by the design engineer in meeting the specifications. The input voltage can be either AC or DC, with lower power units sometimes employing DC (up to 48 Vdc) and higher power supplies designed for AC (between 115 and 480 Vac) or higher voltage DC (between 200 and 385 Vdc).
As shown in Figure 3, input power is initially fed through an EMI filter and a rectifier stage to produce DC (by converting the input, if AC) and to filter out spurious noise. The rectifier also incorporates circuitry for power factor correction to minimize the phase angle, between the current and voltage waveforms for achieving a good power factor (real power divided by apparent power) greater than 0.84 and even as high as 0.99.
Power factor correction (PFC) can be either passive or active. Passive circuitry, which is the technique generally preferred for high-power units, consists of an inductor and capacitor network, and can often produce a power factor as high as 0.94 when measured at full power. Active PFC can produce a power factor in excess of 0.98 over the full range of power output of the HVPS. CE standards enacted by the European Union, for instance, may apply in terms of harmonic content for some applications; these are often met by use of an active PFC. An additional benefit of active PFC is the fact that a regulated DC rail results, often making the line regulation of the HVPS so good that it makes it virtually immeasurable. Passive circuitry produces a DC rail with a value dependent upon the magnitude of the AC line. Excelitas, for example, can engineer both single-phase and three-phase active power factor correction, as well as passive PFC.
Referring again to Figure 3, the resulting DC voltage output from the filter is applied to a resonant inverter, which then produces a high-frequency AC signal. The inverter drives the primary windings of the high-voltage step up transformer, the next stage in the process. The inverter can represent a formidable aspect of the power supply design, in that particular care must be taken to ensure high reliability and efficiency and to achieve the desired degree of margin with regard to component rating.
Although the signal flow and the stages shown in Figure 3 are well understood, the actual topologies can be complicated and challenging to an engineer in creating a stable power supply output that meets the requirements of the customer and the application. The transformer, for instance, involves careful consideration of such factors as the core geometry, the number of primary and secondary turns, how the turns are wound, and the type and method of layer-to-layer insulation. It is here that problems can occur in terms of capacitance, insulation breakdown, thermal degradation, and other undesirable conditions. As with the inverter stage, extensive engineering experience and the application of tried and true methods are essential for a viable design.
The next stage is the high-voltage multiplier, which consists of a network of high-voltage diodes and capacitors for rectifying, filtering, and multiplying the transformer voltage. The design process involves circuit analysis, prototyping, and testing to ensure the desired results. The circuitry must be protected from the high energy released when load capacitors are discharged (voltage reversal); and, in general, the power supply must be able to withstand both high current and large voltage transients. The design of a HVPS for powering an x-ray tube is an example of the circuit protection required, in that the transient effects of arcing must be tolerated by the HVPS while it manages the overall system’s arc response.
The final stage, for most requirements, is a compensated high-voltage divider with a feedback loop. The divider requires careful design to achieve the necessary transient response, limit overshoot, and perform satisfactorily during normal turn-on and turn-off operation. The basic premise is for the AC division ratio to be equal to the DC division ratio of the feedback divider so that the HVPS will accurately regulate during transient conditions (HV turn on, turn off, load discharge, arcing). Also, it is very important that a properly designed high-voltage divider allows for an accurate highvoltage monitor that will faithfully indicate what is happening at the high-voltage output in real time.
As shown in Figure 3, the control circuit incorporates an auxiliary low-voltage power supply, called a housekeeping supply, for running control circuits (regulator, fault logic, remote control, etc.) When needed, additional functionality can be incorporated into the HVPS design. An example is the Omniblock, a complete x-ray source that incorporates the x-ray tube and its cooling system with the HVPS into a single compact enclosure.
HVPS Applications
With many ranges of voltage and power available from Excelitas, power supplies can meet the requirements of a number of market segments and can be incorporated in a wide variety of OEM equipment. Table 1 provides a partial listing of life science and medical applications.
Certain uses cross over with regard to market segments. An HVPS, for instance, is used to power lasers for such purposes as medical treatment, optical inspection, precision X-Y platform alignment, and noncontact welding. X-ray inspection systems, which also incorporate an HVPS (the tube and power supply are sometimes packaged together as a product), are used for diverse operations ranging from baggage screening in airports to a host of industrial nondestructive testing applications. Excelitas, for example, also designs and manufactures capacitor charging power supplies for pulsed power applications, in particular, lasers, and flash lamps.
Designing and Developing a Power Supply
The process of custom designing and manufacturing an HVPS can take as long as a year. OEM customers usually do not want a “designed-from-scratch” power supply, and so they look to an existing platform technology as a proven, cost-effective starting point for a new product. In most instances, an off-the-shelf power supply cannot be used because of the uniqueness of the design and performance requirements.
In order to meet the development schedule of the OEM system in which the HVPS will be incorporated, initial key specifications and related details should be provided by the OEM system designer as soon as possible in the development process. (Related details can include nonspecification requirements in terms of materials, manufacturing process, testing, prototype construction, approved vendors, documentation, etc.) In fact, early participation by the power supply manufacturer not only smooths and expedites design and development, but also enables the power supply engineering team to work with the customer to optimize the performance and physical specifications (size, weight, type of enclosure, method of cooling, etc.) for the power supply.
In the initial phases of a custom design effort, it is best for the power supply manufacturer to visit the customer site to see the current state of the OEM design and to review expectations that may not be reflected in the specification. In fact, in most instances, however detailed the specification may be, not all of the relevant aspects of the design and performance requirements are likely to have been captured. Visits to the OEM should include, as a minimum, the project leader and design engineers assigned to the effort.
Routine technical and status discussions between OEM system designers and the power supply manufacturer benefit the customer in terms of schedule, product quality, and cost. Such discussions are normally conducted over the phone, but may entail visits, off-site meetings, and Internet sessions. From the interaction between the power supply company and the customer, a conceptual design evolves that accommodates the requirements of the OEM, while eliminating (or at least minimizing) project delays and ensuring minimal high-voltage risk to equipment and personnel as the process evolves. Project efficiency is also enhanced because resources (personnel, facility, components, materials, etc.) can be allocated and schedules established for cost-effectively managing the project.
It is important to realize that certain specifications or parameters dictate or define the design approach. Also, there usually is a set of specification trade-offs that occur between, say, three parameters where in order to optimize the most important one, the others become more difficult, therefore requiring more material or greater size to achieve them. It is in these trade-off decisions that the power supply manufacturer can be particularly helpful to the OEM, avoiding tight specifications that may not be required and might represent an unnecessary cost to the customer. For DC power supplies, an example of this is output ripple vs. stored energy vs. transient response/settling. Very low output ripple can be achieved by adding more output capacitance, but this will increase the stored energy in the power supply and potentially be more damaging to the load connected to the power supply. Alternatively, lower ripple can be achieved by higher switching frequencies, which may increase power dissipation or require more expensive semiconductor devices. Understanding the trade-offs helps optimize the design for the OEM application.
Similarly, there are specification and design trade-offs in capacitor charging applications. Charge rate, for example, usually trades off against accuracy and repeatability. Faster charge rates enable higher repetition rates, which increases output power for a given load capacitor, which may increase size and cost. Additionally, it is important to understand the nature of the discharge characteristic in order to determine the peak or instantaneous power level, which may be a more important design specification than the average power output required.
This article was written by Uwe Uhmeyer, Product Line Leader, Excelitas Technologies, High Voltage Power, Waltham, MA. For more information, visit here .

