Analog and mixed signal semiconductors translate real-world signals like temperature, acceleration, pressure, sound, light, bioimpedance, biopotential, flow, touch, and many others into digital information that can be processed and output using a variety of embedded digital and software technologies. This article provides insight into what drives the R&D semiconductor industry for medical devices so healthcare device designers can be better informed about the open market semiconductor product options. It also highlights a sampling of semiconductor products and capabilities on the market today ideally suited for healthcare devices. Finally, it describes how a turnkey electronic design services company can help turn ideas or design needs into a finished, medically certified solution.
Over the last several years, healthcare device manufacturers and semiconductor suppliers have been innovating as one R&D organization. This new level of collaboration has given both industries the opportunity to dive deep into solving some of the most challenging problems previously unsolved due to the disconnect between healthcare device scientists, medical doctors, and biomedical engineers with the semiconductor industry and designers. For example, extracting useful information from electrochemical reactions using traditional data acquisition semiconductor measurement techniques has been available for years but extracting valuable and insightful information leading to higher sensitivity and specificity using new measurement architectures and precision technologies is what continues to drive breakthrough diagnostic solutions.
Another example is addressing specific physiological measurements with semiconductor technologies. A high-speed power-consuming motion sensing element is not necessary to track position or posture that is moving very slowly. By designing high sample rate with low duty cycle/on time motioning sensing, power consumption can be dramatically reduced and battery life greatly extended. In some cases, open market semiconductor products can be modified with minimal design effort by simply understanding the intended medical device use case. Finally, some semiconductor suppliers are taking dramatic steps to offer partial and full regulatory compliance to enable quick prototyping of new medical devices for FDA support.
Healthcare Market Segments as Seen by the Semiconductor Industry
Segments, as they pertain to the semiconductor industry, define end-market needs. For example, an implantable device requires extremely low power signal acquisition, processing, and wireless communication along with the highest standards of medical device regulation versus a line-powered patient monitor used in a hospital or a body fat analyzer used in the home. Segments include medical instrumentation/life sciences, imaging, patient monitoring, home healthcare, and implantables.
Databeans, a semiconductor market research firm, defines the semiconductor total available market (TAM) as consumer, imaging, and diagnostic/therapy but also provides more detailed segmentation when estimating worldwide medical electronics revenue. The overall size of the market for semiconductors in healthcare applications is large: in 2020 Databeans is projecting worldwide semiconductor revenue of $5.5 billion, slightly up from 2019. It is the only industry predicted to grow in 2020 under the industrial market, which includes test/ measurement, process control, mil/aero, medical, and other industrial. Databeans predicts the end market worldwide revenue for medical devices in 2020 at $270 billion and estimated at $377 billion in 2025 (see Tables 1 and 2).
Medical Instrumentation (MI)/Life Sciences (LS). These systems are typically used in hospitals and test laboratories or for research. Some of the larger systems include sophisticated robotics, chemical assays, electronics, and high-speed, high-volume testing. The number of systems produced is smaller relative to the other segments, but the silicon served available market (SAM) content per system can be in the thousands of dollars. From a semiconductor supplier perspective, this segment helps drive some of the most challenging high-precision and performance-embedded designs.
Imaging. This category highlights the importance of collaboration between industries. For example, a computed tomography (CT) system uses an x-ray source, scintillator, optical capture array, high-channel-count data acquisition system, and processing. The number of channels offered in a single chip by semiconductor companies can be 128 or even 256 channels with 24-bit analog to digital converter (ADC) resolution. Another example is ultrasound signal processing. Imaging includes CT, digital x-ray, ultrasound, MRI, positron emission tomography (PET), nuclear, and combinations of different technologies. System volumes are higher than MI, but channel counts are what drive innovation and revenue for semiconductor suppliers.
Patient Monitoring. This market category would typically include products used in a hospital room to monitor a patient’s vital signs such as electrocardiogram (ECG), blood pressure, pulse oximetry (SPO2), temperature, and respiration rate. The disruption in this FDA-regulated product market will be with new silicon solutions that enable body-worn monitoring devices such as biopotential front ends that meet industry regulated standards. Several semiconductor suppliers offer highly integrated biopotential analog front end (AFE) for multi-lead ECG configurations with ISO 60601 safety, amplification, right leg drive, filtering, conversion, and implantable pace detection. Some suppliers provide single lead analog front ends that are extremely low power, small in size, and low cost.
Home Healthcare. One of smallest end-market revenue segments in home healthcare. Databeans estimates this market at $25 billion in 2020, but to a semiconductor supplier, it’s the one that gets the most attention because of the 382 million units shipped in 2020. Some of the end products that drive that volume include glucose meters, digital thermometers, and wearable health monitoring devices such as heart rate or blood pressure monitors. The capability and quantity of products developed by semiconductor suppliers in this space is staggering. The level of complexity, integration, performance, and ultra-low power enable highly sophisticated wireless physiological monitoring devices using a CR2032 button battery to operate for years.
Implantables. Because implantables are Class III medical devices, semiconductor suppliers are careful to closely analyze the risk–reward entering the implantables segment. One challenge and opportunity in supporting designs for implantables is that they demand ultra-low power — up to two orders of magnitude lower power than semiconductor products in a wearable device. However, a semiconductor supplier can leverage those low-power technologies for portfolio and roadmap derivatives in other markets. Implantables such as cardiac rhythm management (CRM) or implantable cardiac defibrillation (ICD) devices are certainly the highest volume today but there are opportunities in emerging use cases such as drug delivery, neurostimulation, and pain management.
Products for Healthcare Applications
The list below is a sampling of use case solutions from different suppliers, indicating the breadth and depth of available options.
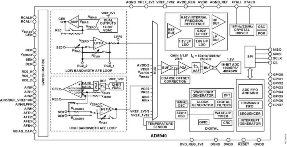
Bioimpedance. Bioimpedance is defined as, “the degree of resistance that a tissue has to the flow of low-magnitude, high-frequency electrical current, which is highest in fat.” Impedance technology in healthcare devices has been used for decades in products such as body fat analyzers. Now with advancements in chemistry, biology, genetics, and semiconductor technology, use cases for impedance technology is growing. Typical and emerging healthcare applications for bioimpedance analysis include body composition, hydration, tissue health, electrical impedance spectroscopy (EIS), electrical impedance tomography (EIT), impedance plethmography (IPG), impedance cardiography (ICG), electrodermal activity (EDA), non-invasive blood pressure, and more. Electrochemical applications include point of care testing (POCT), biological sensing with lateral flow strips, lab on a chip, electrochemical impedance spectroscopy (EIS), and more. The AD5940 from Analog Devices, for example, offers all the stimulus and measurement capabilities on a single chip in a very small, 3.6 × 4.2 mm wafer level chip scale package (WLCSP) to address many of these use cases.
Medication Adherence. The common definition of medication adherence is, “In medicine, compliance (also adherence, capacitance) describes the degree to which a patient correctly follows medical advice. Most commonly, it refers to medication or drug compliance, but it can also apply to other situations such as medical device use, self care, and self-directed exercises.” Medication non-adherence for patients with chronic diseases is extremely common, affecting as many as 40–50 percent of patients who are prescribed medications for management of chronic conditions such as diabetes or hypertension.
This nonadherence to prescribed treatment is thought to cause at least 100,000 preventable deaths and $100 billion in preventable medical costs per year.1 To solve this problem, many device suppliers offer bench- and desktop systems that are loaded with medication and electronically dispensed per prescription. These devices can be connected to a network so a caregiver can monitor adherence remotely. One new approach, using the NHS3100 from NXP leverages NFC and semiconductor design capabilities combined with new drug blister packs or containers to monitor compliance. The NHS3100 also integrates a temperature sensor, which is critical in tracking temperature dependent medications.
Full Regulatory Quality Management Capability. Semiconductor companies offer solutions to some of the most challenging medical device problems and can become a strategic development partner. Meeting FDA regulatory process requirements, such as ISO 13485, is incumbent on the medical device supplier because semiconductor suppliers will offer other industry standard quality management systems such as ISO 9001 or manufacturing flows that meet higher reliability requirements like those in automotive applications. However, when a semiconductor solution requires more sophisticated packaging or design implementations, like in hearing health or implantable applications, ON Semiconductor also offers full FDA certification.
Wireless Communication. The tremendous growth of wearable home healthcare physiological monitoring products is driving semiconductor suppliers to provide higher levels of wireless capabilities to meet demanding power consumption and processing requirements. Bluetooth low energy (BLE) communication has become a standard interface on many products. Products like the nRF5340 from Nordic Semiconductor not only include multistandard wireless functionality like BLE, Zigbee, and NFC but integrate two Arm® Cortex ®-M33 processors supporting the complete system embedded processing and communication stack requirements.
Motion Sensing. Vintage mechanical step counters looked like pocket watches. By placing the device in a pocket, the vertical distance in a person’s step would bounce a metal ball in the instrument thus advancing the step counter. To calibrate the instrument, users measured their step distance and adjusted with a dial. Today, use cases for motion sensing in medical applications range from monitoring human movement and tracking of medical assets to surgical instrument motion and many more.
Supporting those use cases, semiconductor companies offer accelerometers using micromachined electromechanical system (MEMS) fabrication and include products like the ADXL362 from Analog Devices or LIS3DH from ST Semiconductor. These are three-axis, low-G accelerometers with ultralow power to support the longest battery for wearable applications. For example, the ADXL362 consumes only 270 nA in motion-activated mode. Combining that sensor with other functions like processor, display, and communications using a 240 mAHr CR2032 coin cell would create a wearable tracking device that will last for years. Adding gyroscopes and force and pressure sensors provides 9 degrees of freedom (9DOF) solutions.
Security and Counterfeit Protection. High-volume home health wearable and disposable medical devices can become prime targets for security breaches and counterfeiters. Printer manufacturers have known this for years when counterfeit ink cartridges arrived on the market. To minimize the potential for breaches, Microchip offers a CryptoAuthentication™ family of products including the ATSHA206A. These devices offer hardware-based secure storage to effectively keep secret keys hidden from unauthorized users. These small, very-low-power devices work with any microcontroller (MCU) or microprocessor (MPU) to provide flexible solutions for securing Internet of Things (IoT) nodes used in home automation, medical devices, wearables, and many other applications. They can also be used to protect the authenticity of consumables and accessories, ensuring that only legitimate ones work with a product and preserving a company’s revenue stream.
Optical Sensing. Optical physiological measurement techniques such as photoplethysmography (PPG) using photodiodes and LEDs are used in many wearable products. A common use case is pulse oximetry (SPO2). However, more wearable devices are now measuring and combining multiple physiological parameters like biopotential and bioimpedance in addition to optical sensing. One product that addresses the need to combine multiple sensors is the multimodal sensor ADPD4100/ADPD4101 from Analog Devices. Multiple operating modes are provided, enabling a sensor hub for synchronous measurements of photodiodes, biopotential electrodes, resistance, capacitance, and temperature sensors. The multiple operation modes accommodate various sensor measurements, including, but not limited to, PPG, electrocardiography (ECG), electrodermal activity (EDA), impedance, capacitance, and temperature.
Full-Service, Turnkey Electronic Design Companies
The electronic design service industry offers a range of capabilities from basic printed circuit board layout to fully staffed groups of scientists, researchers, usability design, electrical, mechanical, thermal, biomedical, quality engineers, and production services. Some organizations are experts on one discipline such as software design, field programmable gate array (FPGA) design, or thermal engineering design. Full-service, turnkey electronic design companies such as Tri-Star Design, for example, have significant electrical and mechanical design experience including FPGA, microprocessor and microcontroller, motor drive, wireless, power supply, flex circuit, printed circuit board, and cable harness design. Services include a complete range of design-entry, design verification, and signal integrity simulation tools in support of electronic product development. Figure 2 shows a turnkey development process flow diagram for a medical device.
Most importantly, it is essential to communicate needs directly with any semiconductor or design services suppliers. The experts within those organizations are ready and willing to help whether the company is a startup or an established OEM.
Reference
- Fred Kleinsinger, MD, “The Unmet Challenge of Medication Non-adherence,”.
This article was written by Paul Errico, Director of Healthcare Account Management, TriStar Design, Hopkinton, MA. He can be reached at


